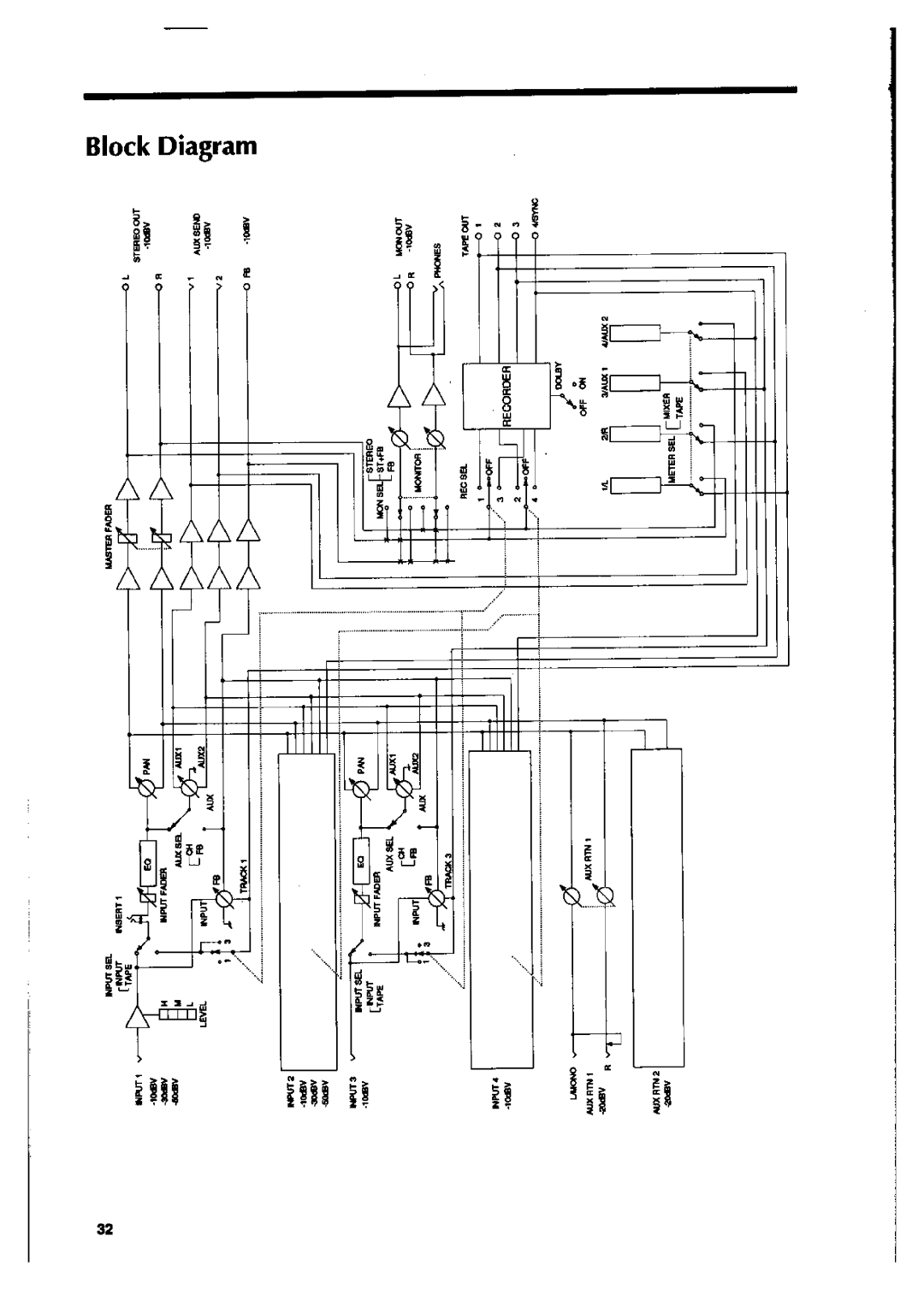
Page 33
Image 33
Fostex XR-5 manual

XR-5 specifications

The Fostex XR-5 is a professional-grade digital multitrack recorder that has garnered attention for its impressive blend of portability, functionality, and sound quality. Designed with musicians, sound engineers, and hobbyists in mind, this device showcases an array of essential features that enable users to capture, edit, and mix their audio projects with ease.

One of the standout features of the XR-5 is its capacity to record up to 8 tracks simultaneously. This versatility allows for the simultaneous recording of multiple instruments or voices, making it an ideal tool for capturing band performances or complex studio sessions. Each track can be recorded at a high resolution, ensuring that the fidelity of your audio is preserved throughout the production process.

The XR-5 employs a user-friendly interface which includes a bright LCD screen that provides clear visual feedback during recording and mixing. Navigating through menus and adjusting settings is straightforward, allowing users to focus more on their creative process rather than grappling with complicated technology.

Another noteworthy characteristic of the Fostex XR-5 is its built-in digital effects processor. With various reverb, delay, and modulation effects, users have access to a range of sound-shaping tools that can enhance their recordings without the need for external units. This feature is particularly helpful for musicians looking to add depth and texture to their tracks directly during the recording process.

The device supports multiple audio formats, including WAV and MP3, ensuring compatibility with different playback devices and editing software. Furthermore, the XR-5 is equipped with a USB port which facilitates easy transfer of files to and from a computer, making the post-production workflow seamless.

In terms of connectivity, the XR-5 offers multiple input options, including XLR and 1/4" TRS ports, allowing for the connection of various microphones and instruments. The flexibility in connectivity ensures that users can set up their recording environment according to their specific needs and preferences.

Overall, the Fostex XR-5 is a reliable multitrack recorder that delivers exceptional sound quality and user-friendly operation. Its combination of advanced features and portability make it a valuable addition to any recording setup, whether in a studio or on the go. For those looking to capture high-quality audio without the burden of overly complex systems, the XR-5 stands out as a versatile and efficient choice.