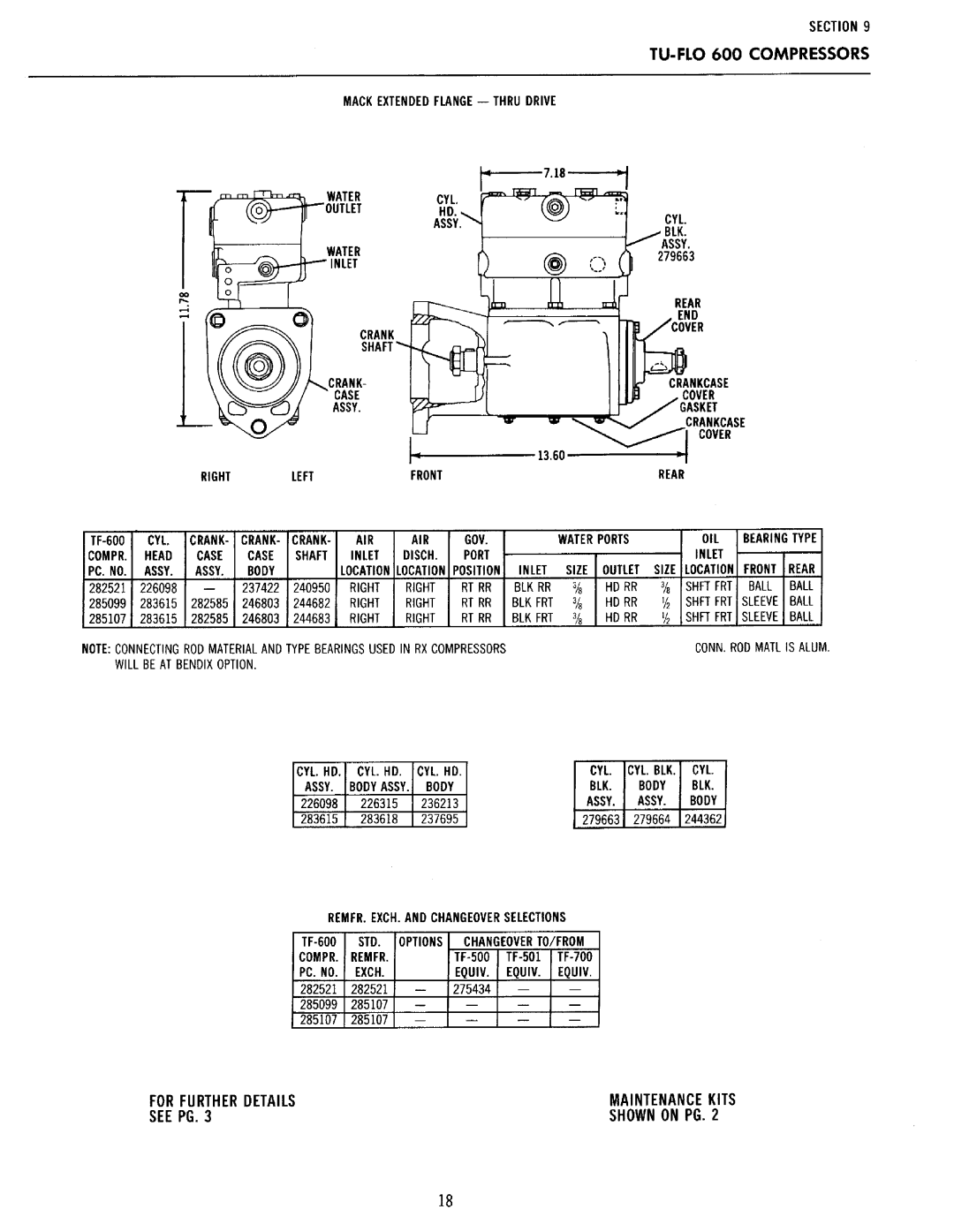
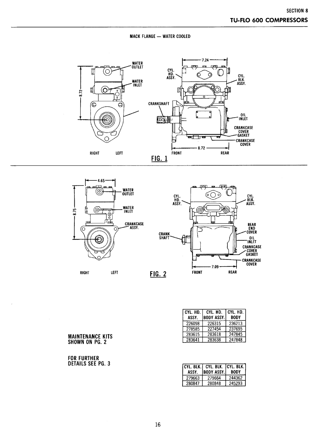
Page 23
Image 23
BENDIX 01-F-1 manual

01-F-1 specifications

The BENDIX 01-F-1 stands out as a reliable and efficient aircraft brake system, known for its robust engineering and innovative features. Designed primarily for small to medium-sized aircraft, this system enhances safety and performance during various phases of flight, particularly during landing and taxiing.

One of the main features of the BENDIX 01-F-1 is its lightweight construction. This is achieved through the use of advanced materials that not only reduce the overall weight of the braking system but also maintain strength and durability. The lightweight design contributes to improved fuel efficiency and general aircraft performance, making it an attractive option for operators seeking cost savings.

The technology behind the BENDIX 01-F-1 revolves around its hydraulic actuation mechanism. This system utilizes hydraulic pressure to engage and release the brakes, providing smooth and reliable operation. The result is enhanced pilot control, allowing for precise braking and reducing the risk of skidding, especially on wet or slippery runways. This smooth operation is crucial for maintaining safety and operational efficiency.

In addition to its hydraulic system, the BENDIX 01-F-1 integrates advanced thermal management capabilities. The brake components are designed to dissipate heat effectively, which is vital during extended use, such as during multiple landings in quick succession. This feature helps prevent brake fade, ensuring that the system remains responsive even under heavy usage conditions.

Furthermore, the BENDIX 01-F-1 boasts an easy installation process, allowing for quick integration into various aircraft models. Maintenance is simplified as well, with accessible components that require minimal tooling. This reduces downtime and operational disruptions, which is beneficial for commercial operators and private owners alike.

Another key characteristic of the BENDIX 01-F-1 is its compatibility with a range of aircraft systems. It can be easily outfitted with sensors and monitoring systems to provide real-time data on brake performance and wear. This integration helps operators keep track of the system's condition, facilitating proactive maintenance and ensuring safety.

Overall, the BENDIX 01-F-1 is a testament to modern aviation engineering, combining lightweight design with advanced hydraulic actuation and superior thermal management. Its features make it a preferred choice for aircraft manufacturers and operators looking for a dependable braking solution that enhances safety and operational efficiency.